Tuesday April 2026

হটলাইন

কনটেন্টটি শেষ হাল-নাগাদ করা হয়েছে: শনিবার, ১৪ এপ্রিল, ২০১৮ এ ০২:৪০ AM

কী সেবা কীভাবে পাবেন

কন্টেন্ট: সেবা এবং ধাপ

সেবার ধাপ সমূহ

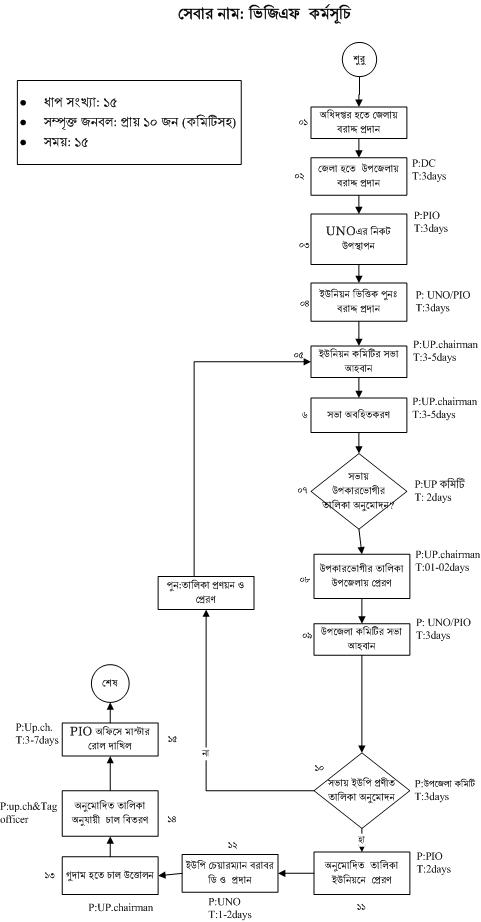
ত্রাণ ও পুনর্বাসন শাখা হিসেবে দূযোর্গ কালিন যে কোন সেবা সরকারী নিয়ম তান্ত্রিক ভাবে প্রদান করা হয়। এই সেবা সমূহ কয়েকটি ধাপে প্রদান করা হয়। নিম্নে ছক আকারে দেখানো হলো।

প্রথম ধাপ : মন্ত্রণালয়

দ্বিতীয় ধাপ : দূযোর্গ ব্যবস্থাপনা অধিদপ্তর

তৃতীয় ধাপ : জেলা পরিষদ এর ত্রাণ কার্যালয়

চতুর্থ ধাপ : উপজেলা পরিষদ কার্যালয়ের ত্রাণ ও পুনর্বাসন শাখা

পঞ্চম ধাপ : ইউনিয়ন কার্যালয়ের চেয়ারম্যান

ষষ্ট ধাপ : ব্যাক্তি অথবা মাঠ পর্যায় পর্যন্ত।

যোগাযোগ ঃ উপজেলা প্রকল্প বাস্তবায়ন কর্মকর্তার কার্যালয়

উপজেলা ঃ নান্দাইল

জেলাঃ ময়মনসিংহ।

মোবাঃ

ওয়েব এড্রেস ঃ

ইমেল ঃ

ফাইল ১

এক্সেসিবিলিটি

স্ক্রিন রিডার ডাউনলোড করুন